爱骑行必关注

一键关注骑行爱好者基地,分享各种品牌山地车使用心得,包括山地车品牌,价格,保养维修技巧,经典骑行路线等资讯,我们一直在路上!
山地车历史上最重要的专利技术(二):双面锁踏和内藏锁片
USPTO专利号:5,003,841;5,195,397
产品名称:Shimano PD-M737(1990年)
发明人:长野正士/Shimano
受让人:Shimano
申请日期:1989年8月11日;1991年11月12日
核准日期:1991年4月2日;1993年3月23日
2015年,是Shimano SPD系统上市的第25年。上溯1989年,Shimano悄然申请了一项自行车踏板专利,并于1990年推出PD-M737锁踏和M100锁鞋。这套锁踏与锁鞋的组合被命名为Shimano Pedaling Dynamics(SPD,禧玛诺踩踏动力学),它的创新之处在于双面锁定和隐藏在鞋子大底中的小锁片,从此改变了用户习惯和整个踏板产业。
SPD的故事,还要从锁踏的英文名称Clipless Pedal说起。从字面上解释,就是“不用夹”的踏板。“什么?锁踏明明是要夹的!”你一定会有这样的想法。貌似用词不当,但如果你知道锁踏的前身——趾夹(俗称狗嘴套)的英文名称是Toe Clips,应该会恍然大悟。没错,Clipless的含义正是“不用趾夹”的踏板。

▲复古的趾夹(狗嘴套)系统
踩踏效率是自行车上永恒的话题。早在一百多年前曲柄、踏板系统完善之后就有了趾夹的发明,两脚一边踩一边提,好比涡轮增压,提高踩踏效率。但相比向后抽拉的解除方式,想要学会翻转踏板朝上再穿上趾夹,反而要麻烦许多。大约在1970年代,锁片和锁踏的组合才开始应用,但早期的锁踏需要手动操作上锁和解锁,紧急情况下根本来不及反应。1984年,源于滑雪板卡座的Look锁踏系统发布,设计之初,锁鞋同锁踏结合之后就固定不动,没有旋转活动空间,容易因姿势固定导致肌肉僵硬,也不利于在复杂路面上改变重心,只能适用于传统的公路车。

▲需要手动操作的Cinelli M71(左)和源自滑雪板的Look PP65(右)
而这时,美国的山地车运动进入了量产车时期,车手对踩踏效率和稳定性的需求开始显现。当时的锁踏系统除了没有旋转活动空间外,还只有单面锁定,且锁片外露,不利行走。这些问题在公路车上并不太突出,但对于山地车来说,劣势显然盖过了优势,大多数车手仍然使用趾夹或者平踏。直到SPD问世。
SPD将旋转浮扣的概念变成了实物,锁鞋和锁片结合之后,仍有几度的空间可以转动,不仅避免了因姿势固定导致的肌肉僵硬,还能通过改变脚与踏板之间的夹角来平衡重心,保持灵活的机动性,解锁的力道也可以通过张力螺丝调整,来适应车手的习惯。SPD的锁定机构可以设计成双面,在重力的作用下,永远有一面锁定机构朝上,入锁十分方便,轴心与锁定机构之间还留有一定空隙,可以将泥土排出。极具创新性的锁片造型小巧,隐藏在锁鞋大底之内,山路上推车行走时,锁鞋与普通鞋子并无太大区别。

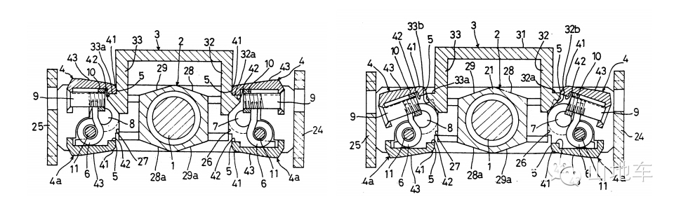
▲5,003,841号专利说明书的部分图例,左图为锁定状态,卡扣将锁片夹紧;右图为解锁状态,扭转锁片撑开卡扣

▲5,195,397号专利说明书的图例之一,卡扣和锁片的造型与实物已经相当接近

▲PD-M737结构图

▲二手市场上的PD-M737,重量约505g(一对)

▲PD-M737与PD-M770对比,PD-M770的重量只有350g(一对)

▲PD-M737装车图,可以看出排泥性还不够好,也是因为当时的运动强度远不及现在,对排泥不太重视

▲第一款SPD锁鞋M100,造型比较像现在的休闲锁鞋

▲1992年,踏板革命还处于过渡阶段,PD-M737锁踏和PD-M735趾夹同时出现在Deore XT产品序列中

▲SPD上市25年之际,Shimano推出了纪念款套装,M163G锁鞋搭配PD-M530C锁踏,适用于林道/Enduro骑乘,锁鞋的配色与当年的M100如出一辙

▲SPD锁踏中的最新款:Shimano PD-M9020(左上)、PD-M9000(右上)以及SH-51(左下)、SH-56(右下,具备多向释放功能)锁片
这些问题的解决,打消了山地车手的顾虑,更突出了锁踏在复杂路面保持双脚稳定的优点。相比趾夹和公路锁踏,SPD满足了山地车运动的许多关键需求,不仅提升了山地车的踩踏效率,也提升了车手在各种地形上的操控能力。时至今日,各品牌的山地车锁踏都是采用类似的设计。后来者们,站在了巨人的肩膀上。

▲除了SPD之外,市场上常见的山地锁踏系统还有CrankBrother Eggbeater、Look S-Trak和Time ATAC等等,SPD仍占据主导地位
文章来源于网络,我们致力于推广权威、专业知识,如影响到原作者权益,请联系小编,我们将第一时间删除!
常按下面二维码,快速关注本账号!

关注后即可进入自行车论坛,和其他热爱骑行的朋友一起交流吧!! |