找回密码
 注册

QQ登录

只需一步,快速开始

新浪微博登陆

只需一步, 快速开始

查看: 6258|回复: 0
打印 上一主题 下一主题

[零件] 【Topeak维修指南】变速系统别放过

[复制链接]

新浪微博达人勋

该用户从未签到


[B]协力报导:185车库

以公路车来说,骑车的乐趣在于可以选择的路线丰富,且面对的路面不论是直路抑或是具有坡度,只要轻轻的按压变把,换个速别,就能减少负担,以最适速度骑完全程。除了景色优美、赏味食趣,享受变速带来的挥汗骑乘,没有体会过的人绝对无法想像,这也意味着变速系统的重要性。

变速系统的调整与检查

后变速器

Roger提到,「大抵来说,通常需要动到后变的情况只有变速线鬆掉、拆卸变速器或者后变被压到的时候,以及变速不顺有异音时,才会需要调整这几颗螺丝。」

首先观察到后变速器,后方的L/H螺丝以及B tension螺丝,亦是用来调整变速的主要位置。



变速器上可供调整的螺丝










1.H高位螺丝(高速档),使用工具:十字螺丝起子

步骤一:飞轮换到最小,放鬆变速线。
步骤二:从单车正后方观察后变速器,后变速器上2个导轮中心线必须对准最小片飞轮的外侧。若发现非如下图图示的位置,则需要调整H高位螺丝。顺时针旋转H螺丝,导轮则往内移动;逆时针转开H螺丝,导轮则往外移动。
步骤三:锁固变速线。




顺时针,导轮往内移动;逆时针,导轮则往外移动?SHIMANO



可以发现,这时候的导轮及飞轮并不是一直线



这是已经调整好的状态






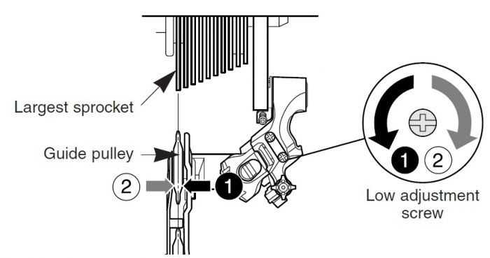
2.L低位螺丝(低速档),使用工具:十字螺丝起子

步骤一:飞轮调整至最大。
步骤二:从单车正后方观察后变速器,后变速器上2个导轮和最大片的飞轮位置是否位于一条垂直线上。若发现三者不是位于同一条垂直线上,则需要调整L低位螺丝。顺时针旋转L螺丝,导轮则往内移动;逆时针转开L螺丝,导轮则往外移动。



顺时针,导轮往内移动;逆时针,导轮则往外移动?SHIMANO






3.调整变速线张力

调整完高低位螺丝后,开始测试后变速器作动的顺畅度,如果飞轮由大变小速度延迟,则可能是变速线张力太紧;反观太鬆,则影响的是小变大的速度。这时候就可以调整张力微调螺丝,逆时针旋转微调螺丝,可增加变速线张力;反方向旋转则是鬆弛张力。



黑色的微调螺丝


长时间使用变速,变速线张力鬆弛,如果微调螺丝已经转到最开,无法再调整的状况下,则需重新拉紧变速线。先将微调螺丝顺时针转到底,再利用Topeak尖嘴钳,搭配5mm六角扳手,同步将变速线拉紧后锁固。



重新拉紧变速线


那麽B tension螺丝又是在什麽时候才会动到?

B tension 螺丝的功能,主要是再调整导轮与飞轮之间的水平距离。「大部份是更换飞轮的时候,如原先使用28T,要更改成32T的时候,就需要调整B螺丝。」通常一般情况不需要做调整。



更换飞轮的时候,会动到B tension


Roger表示,车友最常遇到的问题不外乎是,飞轮下不到最小齿,意味着H螺丝的位置没有调整好;飞轮上不到最大盘,这就反应了L螺丝没有调整好。如果在改变速别的过程中稍嫌不顺,那就是变速线太紧、太鬆的问题,车友们大致上容易碰到的问题即为此。

特别提醒,后变速器之H/L螺丝正是所谓的限位螺丝,如果限位螺丝没有调整好,变速不准只是小事,最怕的是链条往最小片或者最大片的飞轮外侧掉链,一旦发生如此情况,行进间很容易造成链条卡死,进而导致意外及机件受损,不可不慎。

「交车的时候就应该要调整好,平常无须过度更动。若需要倒车平放于地面时,务必将变速器那面朝上平放,减少变速器遭到摩擦或者撞击的机会。」

前变速器

以SHIMANO的系统为例,前变上方多半是十字螺丝,故使用十字螺丝起子调整即可。该处螺丝若没有调整好,就容易出现链条往外或者往内跑的问题,在高速状态下行使,掉链可能会产生安全的疑虑。

L低位螺丝(低速档),使用工具:十字螺丝起子

步骤一: 将大盘链条放到最小盘(内侧),飞轮放到最大盘(前小后大)。
步骤二: 从单车正上方观察前变速器,前变速器内侧拨链板是否与链条距离0~0.5mm。若发现链条与内侧拨链板距离小于或大于这个区间,则需要调整L低位螺丝。顺时针旋转L螺丝,拨链板则往外移动;逆时针转开L螺丝,拨链板则往内移动。



顺时针,拨链板往外移动;逆时针,拨链板则往内移动?SHIMANO






H高位螺丝(高速档),使用工具:十字螺丝起子

步骤一: 将大盘链条放到最大盘(内侧),飞轮放到最小盘(前大后小)。
步骤二: 从单车正上方观察前变速器,前变速器外侧拨链板是否与链条距离0~0.5mm。若发现链条与外侧拨链板距离小于或大于这个区间,则需要调整H高位螺丝。顺时针旋转H螺丝,拨链板则往内移动;逆时针转开H螺丝,拨链板则往外移动。



顺时针,拨链板往内移动;逆时针,拨链板则往外移动?SHIMANO






这也是为什麽我们总是提醒大家,行前检查的重要性,千万别拿自己还有其他用路人的性命安全开玩笑。

Topeak Prepstation 行动维修站,提供55种维修功能,七层工具收纳空间,强大维修支援佐以收叠机构,是车队、工作室或家庭维修,不可或缺的装备。



行前别偷懒,利用Topeak好好检查一下你的爱车



[/B]
分享到:  QQ好友和群QQ好友和群 QQ空间QQ空间 腾讯微博腾讯微博 腾讯朋友腾讯朋友
收藏收藏 分享淘帖 顶 踩 分享到新浪微博
 
回复
百度谷歌雅虎搜狗 搜搜有道 360中搜

举报

您需要登录后才可以回帖 登录 | 注册 新浪微博登陆

本版积分规则